В Samsung придумали гибкий смартфон с оригинальной системой складывания - «Новости сети»
sitename
Разработчики WhatsApp заявили, что будут бороться за российских пользователей - «Новости»
Разработчики WhatsApp заявили, что будут бороться за российских пользователей - «Новости»
Пользователи подали в суд на Роскомнадзор и Минцифры из-за ограничения звонков в WhatsApp и Telegram - «Новости»
Пользователи подали в суд на Роскомнадзор и Минцифры из-за ограничения звонков в WhatsApp и Telegram - «Новости»
В npm нашли фейковый API WhatsApp, который ворует сообщения, контакты и токены - «Новости»
В npm нашли фейковый API WhatsApp, который ворует сообщения, контакты и токены - «Новости»
Два вредоносных расширения для Chrome крадут данные - «Новости»
Два вредоносных расширения для Chrome крадут данные - «Новости»
Обнаружены новые версии Android-трояна Mamont, которые распространяются через домовые чаты - «Новости»
Обнаружены новые версии Android-трояна Mamont, которые распространяются через домовые чаты - «Новости»
Samsung показала первый в мире монитор с частотой 1040 Гц, а также 6K-модель с 3D без очков - «Новости сети»
Samsung показала первый в мире монитор с частотой 1040 Гц, а также 6K-модель с 3D без очков - «Новости сети»
Десять экс-сотрудников Samsung арестованы за кражу технологий DRAM 10-нм класса для Китая - «Новости сети»
Десять экс-сотрудников Samsung арестованы за кражу технологий DRAM 10-нм класса для Китая - «Новости сети»
В Китае запретят сэкстинг — откровенный контент в личных переписках окажется вне закона - «Новости сети»
В Китае запретят сэкстинг — откровенный контент в личных переписках окажется вне закона - «Новости сети»
Производители готовы свернуть выпуск SATA-накопителей: покупатели всё чаще выбирают внешние SSD - «Новости сети»
Производители готовы свернуть выпуск SATA-накопителей: покупатели всё чаще выбирают внешние SSD - «Новости сети»
Галактический масштаб, никаких экранов загрузки и невероятный уровень погружения: новые детали сюжетного боевика Squadron 42 во вселенной Star Citizen - «Новости сети»
Галактический масштаб, никаких экранов загрузки и невероятный уровень погружения: новые детали сюжетного боевика Squadron 42 во вселенной Star Citizen - «Новости сети»
Как заработать денег, не выходя из дома, мы вам поможем с этим разобраться » Новости » Новости мира Интернет » В Samsung придумали гибкий смартфон с оригинальной системой складывания - «Новости сети»


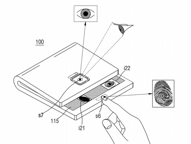
Управление США по патентам и торговым маркам (USPTO) в первых числах текущего месяца выдало компании Samsung патент на очередной смартфон, оснащённый гибким дисплеем.


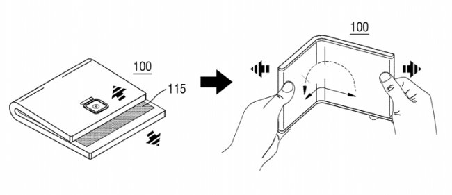
На этот раз речь идёт об аппарате в формате классической «раскладушки», у которого вытянутый по вертикали экран складывается внутрь корпуса. Это защищает панель от повреждений во время повседневной эксплуатации.


При этом имеется любопытная особенность. Устройство может складываться не только посередине, но и со смещением. Во втором случае остаётся видна небольшая часть дисплея: здесь могут отображаться различные уведомления, полезная информация, сообщения и пр.




В тыльной части расположена одинарная основная камера. Под экраном могут быть установлены фронтальная камера и (или) дактилоскопический сканер. Таким образом, смартфон сможет осуществлять идентификацию пользователей по изображению лица и отпечаткам пальцев.


Заявка на патент была направлена в марте прошлого года. Не исключено, что смартфон с описанной конструкцией, но некоторыми техническими изменениями, например, с добавлением многомодульной камеры, в перспективе появится в ассортименте южнокорейского гиганта.
Цитирование статьи, картинки - фото скриншот - Rambler News Service.
Иллюстрация к статье - Яндекс. Картинки.
Есть вопросы. Напишите нам.
Общие правила  поведения на сайте.

Управление США по патентам и торговым маркам (USPTO) в первых числах текущего месяца выдало компании Samsung патент на очередной смартфон, оснащённый гибким дисплеем. На этот раз речь идёт об аппарате в формате классической «раскладушки», у которого вытянутый по вертикали экран складывается внутрь корпуса. Это защищает панель от повреждений во время повседневной эксплуатации. При этом имеется любопытная особенность. Устройство может складываться не только посередине, но и со смещением. Во втором случае остаётся видна небольшая часть дисплея: здесь могут отображаться различные уведомления, полезная информация, сообщения и пр. В тыльной части расположена одинарная основная камера. Под экраном могут быть установлены фронтальная камера и (или) дактилоскопический сканер. Таким образом, смартфон сможет осуществлять идентификацию пользователей по изображению лица и отпечаткам пальцев. Заявка на патент была направлена в марте прошлого года. Не исключено, что смартфон с описанной конструкцией, но некоторыми техническими изменениями, например, с добавлением многомодульной камеры, в перспективе появится в ассортименте южнокорейского гиганта.
запостил(а)
James
Вернуться назад

Смотрите также


А что там на главной? )))



Комментарии )))



Войти через: