Apple запатентовала гибридный ноутбук с гнущимся корпусом - «Новости сети»
sitename
Создан материал для «неисчерпаемой фляги» — он сам добывает воду из воздуха, пока светит Солнце - «Новости сети»
Создан материал для «неисчерпаемой фляги» — он сам добывает воду из воздуха, пока светит Солнце - «Новости сети»
Китайские контрактные производители чипов начали поднимать цены на услуги, чтобы урвать свой кусок ИИ-пирога - «Новости сети»
Китайские контрактные производители чипов начали поднимать цены на услуги, чтобы урвать свой кусок ИИ-пирога - «Новости сети»
SpaceX впервые запустила новейшую мегаракету Starship V3 — корабль потерял двигатель, но продолжил полёт - «Новости сети»
SpaceX впервые запустила новейшую мегаракету Starship V3 — корабль потерял двигатель, но продолжил полёт - «Новости сети»
OpenAI сорвала выход полнометражного мультфильма Critterz, закрыв ИИ-видеогенератор Sora - «Новости сети»
OpenAI сорвала выход полнометражного мультфильма Critterz, закрыв ИИ-видеогенератор Sora - «Новости сети»
«Дай ему завершить работу»: Anthropic попросила разработчиков не мешать Claude писать и проверять код - «Новости сети»
«Дай ему завершить работу»: Anthropic попросила разработчиков не мешать Claude писать и проверять код - «Новости сети»
Разработчик GitHub установил вредоносное расширение для VS Code. Взломано 3800 репозиториев - «Новости»
Разработчик GitHub установил вредоносное расширение для VS Code. Взломано 3800 репозиториев - «Новости»
Из Steam удалили игру Beyond The Dark, содержавшую малварь - «Новости»
Из Steam удалили игру Beyond The Dark, содержавшую малварь - «Новости»
Малварь fast16 была нацелена на саботаж разработки ядерного оружия - «Новости»
Малварь fast16 была нацелена на саботаж разработки ядерного оружия - «Новости»
В Discord появилось сквозное шифрование голосовых и видеозвонков - «Новости»
В Discord появилось сквозное шифрование голосовых и видеозвонков - «Новости»
В Microsoft рассказали, как защититься от 0-day-уязвимости YellowKey для обхода BitLocker - «Новости»
В Microsoft рассказали, как защититься от 0-day-уязвимости YellowKey для обхода BitLocker - «Новости»
Как заработать денег, не выходя из дома, мы вам поможем с этим разобраться » Новости » Новости мира Интернет » Apple запатентовала гибридный ноутбук с гнущимся корпусом - «Новости сети»


Вслед за многочисленными патентами, описывающими гибкие смартфоны и планшеты, Apple подала в Патентное бюро США заявку, в которой речь идёт о ноутбуке, выполненном в цельном корпусе и лишённом традиционного шарнирного механизма.



Информация сайта - «dima-gid.ru»




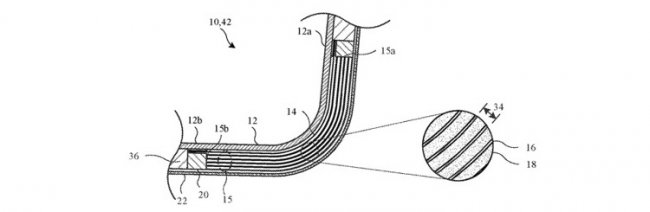
Патент с порядковым номером 10,642,318, называющийся «Планарная петля в сборе», описывает гибкое устройство, весьма похожее на MacBook Pro. В нём говорится, что ноутбук получит вид цельного устройства и вместо привычного шарнира будет иметь гибкую часть корпуса между клавиатурой и экраном. Суть изобретения состоит в том, что сгибаемая часть, имеющая «регулируемую структуру изгиба» должна быть сформирована из «стопки слоёв, способных переходить из несжатого состояния в сжатое». По большей части патент описывает способы, с помощью каких данная возможность может быть реализована на практике. Однако в нём практически не описаны преимущества изгибаемого механизма перед привычным шарниром.



Информация сайта - «dima-gid.ru»



Петли, использующиеся в ноутбуках Apple, являются высококачественным и отлично протестированным механизмом, который практически не вызывает никаких нареканий у пользователей. Но как поведёт себя запатентованный изгибаемый механизм тяжело представить, хотя он может оказаться даже лучше применяемого сейчас решения.



Информация сайта - «dima-gid.ru»




Помимо этого, патент описывает возможность применения в устройствах с новым механизмом гибких дисплеев, что перекликается с одним из предыдущих патентов Apple, в котором речь идёт об устройстве с двумя дисплеями, один из которых используется для ввода, а второй для отображения контента.


В любом случае, даже если Apple выпустит подобное устройство на рынок, случится это только тогда, когда механизм будет полностью протестирован и пригоден для повседневной работы.

Вслед за многочисленными патентами, описывающими гибкие смартфоны и планшеты, Apple подала в Патентное бюро США заявку, в которой речь идёт о ноутбуке, выполненном в цельном корпусе и лишённом традиционного шарнирного механизма. Информация сайта - «dima-gid.ru» Патент с порядковым номером 10,642,318, называющийся «Планарная петля в сборе», описывает гибкое устройство, весьма похожее на MacBook Pro. В нём говорится, что ноутбук получит вид цельного устройства и вместо привычного шарнира будет иметь гибкую часть корпуса между клавиатурой и экраном. Суть изобретения состоит в том, что сгибаемая часть, имеющая «регулируемую структуру изгиба» должна быть сформирована из «стопки слоёв, способных переходить из несжатого состояния в сжатое». По большей части патент описывает способы, с помощью каких данная возможность может быть реализована на практике. Однако в нём практически не описаны преимущества изгибаемого механизма перед привычным шарниром. Информация сайта - «dima-gid.ru» Петли, использующиеся в ноутбуках Apple, являются высококачественным и отлично протестированным механизмом, который практически не вызывает никаких нареканий у пользователей. Но как поведёт себя запатентованный изгибаемый механизм тяжело представить, хотя он может оказаться даже лучше применяемого сейчас решения. Информация сайта - «dima-gid.ru» Помимо этого, патент описывает возможность применения в устройствах с новым механизмом гибких дисплеев, что перекликается с одним из предыдущих патентов Apple, в котором речь идёт об устройстве с двумя дисплеями, один из которых используется для ввода, а второй для отображения контента. В любом случае, даже если Apple выпустит подобное устройство на рынок, случится это только тогда, когда механизм будет полностью протестирован и пригоден для повседневной работы.
Цитирование статьи, картинки - фото скриншот - Rambler News Service.
Иллюстрация к статье - Яндекс. Картинки.
Есть вопросы. Напишите нам.
Общие правила  поведения на сайте.

Смотрите также

А что там на главной? )))



Комментарии )))



Войти через: