LG запатентовала рулонный ТВ-дисплей - «Новости сети»
sitename
Через два года США первыми в истории запустят корабль с ядерным двигателем за пределы земной орбиты — к Марсу - «Новости сети»
Через два года США первыми в истории запустят корабль с ядерным двигателем за пределы земной орбиты — к Марсу - «Новости сети»
В iFixit разобрали Samsung Galaxy S26 Ultra: аккумулятор заменить легко, а камеры и экран — нет - «Новости сети»
В iFixit разобрали Samsung Galaxy S26 Ultra: аккумулятор заменить легко, а камеры и экран — нет - «Новости сети»
И так сойдёт: Тодд Говард объяснил, почему в The Elder Scrolls IV: Oblivion Remastered сохранились многие баги из оригинальной игры - «Новости сети»
И так сойдёт: Тодд Говард объяснил, почему в The Elder Scrolls IV: Oblivion Remastered сохранились многие баги из оригинальной игры - «Новости сети»
Разработчики Forza Horizon 6 «выкатили» системные требования — в том числе для «экстремальных» настроек графики и трассировки лучей - «Новости сети»
Разработчики Forza Horizon 6 «выкатили» системные требования — в том числе для «экстремальных» настроек графики и трассировки лучей - «Новости сети»
Q-Day ближе, чем все думали: Google резко приблизила сроки взлома почти всей современной криптографии - «Новости сети»
Q-Day ближе, чем все думали: Google резко приблизила сроки взлома почти всей современной криптографии - «Новости сети»
Nvidia ударила по Intel и AMD: представлены серверные 88-ядерные CPU Vera, которые сгодятся не только для ИИ - «Новости сети»
Nvidia ударила по Intel и AMD: представлены серверные 88-ядерные CPU Vera, которые сгодятся не только для ИИ - «Новости сети»
Apple наконец признала устаревшими смартфоны iPhone 5 и iPhone 4 8GB - «Новости сети»
Apple наконец признала устаревшими смартфоны iPhone 5 и iPhone 4 8GB - «Новости сети»
Эксперты считают, что блокировка Telegram уже началась - «Новости сети»
Эксперты считают, что блокировка Telegram уже началась - «Новости сети»
Для PS5 Pro вышел ИИ-апскейлер PSSR 2 — улучшенную графику получат Silent Hill 2, Alan Wake 2 и другие игры - «Новости сети»
Для PS5 Pro вышел ИИ-апскейлер PSSR 2 — улучшенную графику получат Silent Hill 2, Alan Wake 2 и другие игры - «Новости сети»
Группировка Toy Ghouls атакует российские организации через подрядчиков - «Новости»
Группировка Toy Ghouls атакует российские организации через подрядчиков - «Новости»


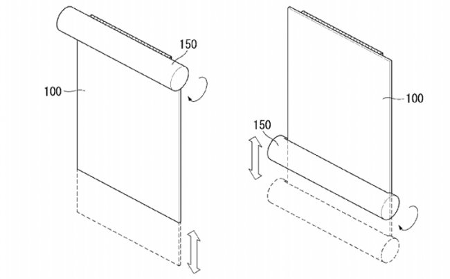
Управление США по патентам и торговым маркам (USPTO) выдало компании LG Display патент на так называемый «скручивающийся дисплей» (Rollable display). Как можно видеть на иллюстрациях, южнокорейский разработчик размышляет над телевизором, выполненным в цилиндрическом корпусе.



Информация сайта - «dima-gid.ru»




В сложенном состоянии устройство не займёт много места. Таким образом, панель можно будет без проблем интегрировать в различные интерьеры.


Для перевода устройства в рабочий режим достаточно будет вытянуть экран из корпуса. Цилиндрический модуль может монтироваться как вертикально, так и горизонтально.


По всей видимости, пользователи смогут вытягивать дисплей на определённую длину — скажем, для полноценного просмотра видеоматериалов или только лишь для отображения полезной информации.


В патенте говорится, что экран может быть выполнен по технологии органических светодиодов (OLED). Не исключён также вариант применения электронной бумаги.


Заявка на патент была подана ещё в декабре 2016 года, но выдан документ только сейчас. О планах LG Display по коммерциализации рулонного телевизора пока ничего не сообщается.

Управление США по патентам и торговым маркам (USPTO) выдало компании LG Display патент на так называемый «скручивающийся дисплей» (Rollable display). Как можно видеть на иллюстрациях, южнокорейский разработчик размышляет над телевизором, выполненным в цилиндрическом корпусе. Информация сайта - «dima-gid.ru» В сложенном состоянии устройство не займёт много места. Таким образом, панель можно будет без проблем интегрировать в различные интерьеры. Для перевода устройства в рабочий режим достаточно будет вытянуть экран из корпуса. Цилиндрический модуль может монтироваться как вертикально, так и горизонтально. По всей видимости, пользователи смогут вытягивать дисплей на определённую длину — скажем, для полноценного просмотра видеоматериалов или только лишь для отображения полезной информации. В патенте говорится, что экран может быть выполнен по технологии органических светодиодов (OLED). Не исключён также вариант применения электронной бумаги. Заявка на патент была подана ещё в декабре 2016 года, но выдан документ только сейчас. О планах LG Display по коммерциализации рулонного телевизора пока ничего не сообщается.
Цитирование статьи, картинки - фото скриншот - Rambler News Service.
Иллюстрация к статье - Яндекс. Картинки.
Есть вопросы. Напишите нам.
Общие правила  поведения на сайте.

Смотрите также

А что там на главной? )))



Комментарии )))



Войти через: