Горячая штучка: комплект разработчика PlayStation 5 использует 6 вентиляторов охлаждения - «Новости сети»
sitename
После 10 месяцев работы на конвейере BMW у человекоподобных роботов Figure 02 начали отваливаться руки - «Новости сети»
После 10 месяцев работы на конвейере BMW у человекоподобных роботов Figure 02 начали отваливаться руки - «Новости сети»
«Открыть ворота»: грандиозная кампания «Империи бессмертных» скоро станет доступна владельцам Total War: Warhammer и Total War: Warhammer II - «Новости сети»
«Открыть ворота»: грандиозная кампания «Империи бессмертных» скоро станет доступна владельцам Total War: Warhammer и Total War: Warhammer II - «Новости сети»
Windows 1.0 вышла ровно 40 лет назад — ей хватало 256 Кбайт ОЗУ и одной дискеты - «Новости сети»
Windows 1.0 вышла ровно 40 лет назад — ей хватало 256 Кбайт ОЗУ и одной дискеты - «Новости сети»
Первая за 10 лет новая Carmageddon оказалась роглайтом — тизер-трейлер Carmageddon: Rogue Shift - «Новости сети»
Первая за 10 лет новая Carmageddon оказалась роглайтом — тизер-трейлер Carmageddon: Rogue Shift - «Новости сети»
Clair Obscur: Expedition 33 повторила рекорд Baldur’s Gate 3 и не оставила шанса конкурентам — итоги Golden Joystick Awards 2025 - «Новости сети»
Clair Obscur: Expedition 33 повторила рекорд Baldur’s Gate 3 и не оставила шанса конкурентам — итоги Golden Joystick Awards 2025 - «Новости сети»
Эксперты сомневаются, что Claude Code мог использоваться для автоматизированных атак - «Новости»
Эксперты сомневаются, что Claude Code мог использоваться для автоматизированных атак - «Новости»
Уязвимость в Fortinet FortiWeb использовалась для создания новых администраторов - «Новости»
Уязвимость в Fortinet FortiWeb использовалась для создания новых администраторов - «Новости»
Google позволит опытным пользователям устанавливать приложения из сторонних источников - «Новости»
Google позволит опытным пользователям устанавливать приложения из сторонних источников - «Новости»
Компания Keenetic принудительно обновляет роутеры пользователей из-за уязвимости - «Новости»
Компания Keenetic принудительно обновляет роутеры пользователей из-за уязвимости - «Новости»
Azure подвергся DDoS-атаке мощностью 15 Тбит/с, исходившей от 500 000 IP-адресов - «Новости»
Azure подвергся DDoS-атаке мощностью 15 Тбит/с, исходившей от 500 000 IP-адресов - «Новости»
Как заработать денег, не выходя из дома, мы вам поможем с этим разобраться » Новости » Новости мира Интернет » Горячая штучка: комплект разработчика PlayStation 5 использует 6 вентиляторов охлаждения - «Новости сети»


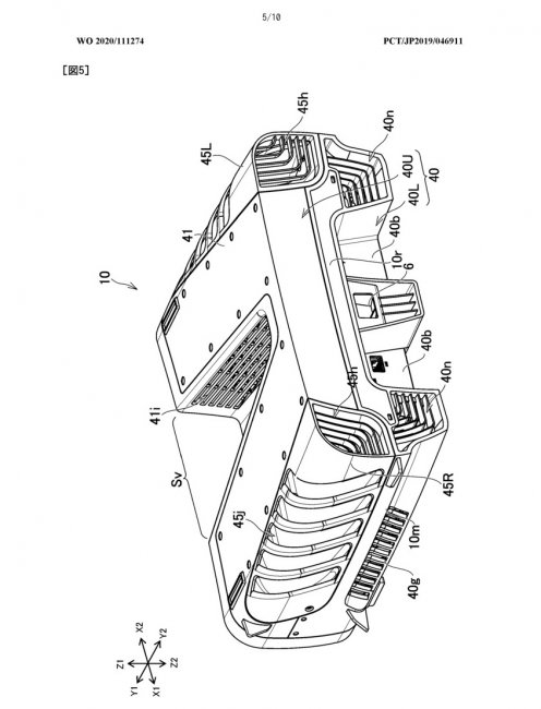
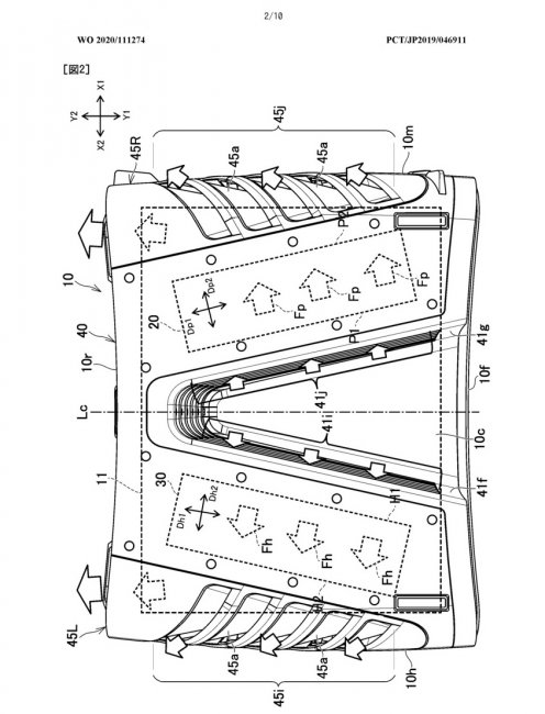
В базе данных Всемирной организации интеллектуальной собственности (WIPO) размещён патент под названием «Электронное устройство». Заявка на него была подана компанией Sony Interactive Entertainment 29 ноября 2019 года. В нём описывается и демонстрируется система охлаждения комплекта разработчика PlayStation 5.


Устройство с аналогичным внешним видом мы могли видеть на фотографиях, которые появились в Сети ещё в конце прошлого года. Схематичные изображения устройства в патенте демонстрируют уже знакомую V-образную форму.

Кроме того, в документации демонстрируется схема направления движения горячего воздуха, который отводится за пределы устройства его системой охлаждения.



Также указывается, что комплект разработчика PS5 использует «множество вентиляторов охлаждения», которые направляют воздух к радиатору охлаждения центрального вычислительного и графического процессоров. Описание гласит, что воздух сначала проходит через этот компонент, потом двигается через блок питания, а затем выводится наружу.



На одном из изображений можно увидеть целых шесть вентиляторов. И именно благодаря этому можно сделать вывод, что Sony действительно могла столкнуться с серьёзной проблемой охлаждения приставки при её разработке, как об этом ранее сообщали слухи.



Если учесть, что PlayStation 5 использует восьмиядерный процессор AMD с ядрами Zen 2, а также GPU с микроархитектурой RDNA 2, частотой выше 2 ГГц и производительность 10,28 Тфлопс, то вполне очевидна необходимость в мощной системе охлаждения консоли. Ранние слухи даже говорили о том, что серьёзные проблемы с охлаждением якобы заставили Sony пересмотреть финальный дизайн консоли.





Так ли это на самом деле — пока неизвестно. Но наличие патента комплекта разработчика PS5 подтверждает теорию о том, что для Sony вопрос охлаждения оказался одним из самых проблематичных с самого начала разработки приставки. Кроме того, он согласуется с недавними слухами о том, что PlayStation 5 в два раза толще нынешней PS4 Pro и имеет необычную особенность. Надеемся, что в последнем случае речь не идёт о системе охлаждения из шести вентиляторов.
Цитирование статьи, картинки - фото скриншот - Rambler News Service.
Иллюстрация к статье - Яндекс. Картинки.
Есть вопросы. Напишите нам.
Общие правила  поведения на сайте.

В базе данных Всемирной организации интеллектуальной собственности (WIPO) размещён патент под названием «Электронное устройство». Заявка на него была подана компанией Sony Interactive Entertainment 29 ноября 2019 года. В нём описывается и демонстрируется система охлаждения комплекта разработчика PlayStation 5. Устройство с аналогичным внешним видом мы могли видеть на фотографиях, которые появились в Сети ещё в конце прошлого года. Схематичные изображения устройства в патенте демонстрируют уже знакомую V-образную форму. Кроме того, в документации демонстрируется схема направления движения горячего воздуха, который отводится за пределы устройства его системой охлаждения. Также указывается, что комплект разработчика PS5 использует «множество вентиляторов охлаждения», которые направляют воздух к радиатору охлаждения центрального вычислительного и графического процессоров. Описание гласит, что воздух сначала проходит через этот компонент, потом двигается через блок питания, а затем выводится наружу. На одном из изображений можно увидеть целых шесть вентиляторов. И именно благодаря этому можно сделать вывод, что Sony действительно могла столкнуться с серьёзной проблемой охлаждения приставки при её разработке, как об этом ранее сообщали слухи. Если учесть, что PlayStation 5 использует восьмиядерный процессор AMD с ядрами Zen 2, а также GPU с микроархитектурой RDNA 2, частотой выше 2 ГГц и производительность 10,28 Тфлопс, то вполне очевидна необходимость в мощной системе охлаждения консоли. Ранние слухи даже говорили о том, что серьёзные проблемы с охлаждением якобы заставили Sony пересмотреть финальный дизайн консоли. Так ли это на самом деле — пока неизвестно. Но наличие патента комплекта разработчика PS5 подтверждает теорию о том, что для Sony вопрос охлаждения оказался одним из самых проблематичных с самого начала разработки приставки. Кроме того, он согласуется с недавними слухами о том, что PlayStation 5 в два раза толще нынешней PS4 Pro и имеет необычную особенность. Надеемся, что в последнем случае речь не идёт о системе охлаждения из шести вентиляторов.

Смотрите также


А что там на главной? )))



Комментарии )))



Войти через: