HMD Global приостановила разработку гибкого смартфона Nokia - «Новости сети»
sitename
Создан материал для «неисчерпаемой фляги» — он сам добывает воду из воздуха, пока светит Солнце - «Новости сети»
Создан материал для «неисчерпаемой фляги» — он сам добывает воду из воздуха, пока светит Солнце - «Новости сети»
Китайские контрактные производители чипов начали поднимать цены на услуги, чтобы урвать свой кусок ИИ-пирога - «Новости сети»
Китайские контрактные производители чипов начали поднимать цены на услуги, чтобы урвать свой кусок ИИ-пирога - «Новости сети»
SpaceX впервые запустила новейшую мегаракету Starship V3 — корабль потерял двигатель, но продолжил полёт - «Новости сети»
SpaceX впервые запустила новейшую мегаракету Starship V3 — корабль потерял двигатель, но продолжил полёт - «Новости сети»
OpenAI сорвала выход полнометражного мультфильма Critterz, закрыв ИИ-видеогенератор Sora - «Новости сети»
OpenAI сорвала выход полнометражного мультфильма Critterz, закрыв ИИ-видеогенератор Sora - «Новости сети»
«Дай ему завершить работу»: Anthropic попросила разработчиков не мешать Claude писать и проверять код - «Новости сети»
«Дай ему завершить работу»: Anthropic попросила разработчиков не мешать Claude писать и проверять код - «Новости сети»
Разработчик GitHub установил вредоносное расширение для VS Code. Взломано 3800 репозиториев - «Новости»
Разработчик GitHub установил вредоносное расширение для VS Code. Взломано 3800 репозиториев - «Новости»
Из Steam удалили игру Beyond The Dark, содержавшую малварь - «Новости»
Из Steam удалили игру Beyond The Dark, содержавшую малварь - «Новости»
Малварь fast16 была нацелена на саботаж разработки ядерного оружия - «Новости»
Малварь fast16 была нацелена на саботаж разработки ядерного оружия - «Новости»
В Discord появилось сквозное шифрование голосовых и видеозвонков - «Новости»
В Discord появилось сквозное шифрование голосовых и видеозвонков - «Новости»
В Microsoft рассказали, как защититься от 0-day-уязвимости YellowKey для обхода BitLocker - «Новости»
В Microsoft рассказали, как защититься от 0-day-уязвимости YellowKey для обхода BitLocker - «Новости»
Как заработать денег, не выходя из дома, мы вам поможем с этим разобраться » Новости » Новости мира Интернет » HMD Global приостановила разработку гибкого смартфона Nokia - «Новости сети»


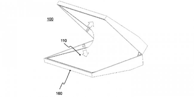
Финская компания HMD Global, по сообщениям интернет-источников, изучает возможность выхода на рынок смартфонов с гибким дисплеем. Не исключено, что подобный аппарат в обозримом будущем выйдет под брендом Nokia.



Информация сайта - «dima-gid.ru»




Утверждается, что HMD Global создала несколько прототипов телефонов с гибкой конструкцией для внутреннего тестирования. Однако сейчас разработка подобных устройств приостановлена.


Причина заморозки проекта — сомнения в коммерческом успехе гибких смартфонов. Дело в том, что пока такие аппараты весьма дороги; к тому же у многих потенциальных покупателей возникают сомнения в надёжности механизма складывания и долговечности собственно гибкого экрана.


В то же время отмечается, что полностью от идеи создания гибких аппаратов компания HMD Global не отказывается. Работы над подобными устройствами могут быть возобновлены в подходящее время.


По оценкам Counterpoint Research, в первом квартале текущего года HMD Global удалось реализовать только около 1,7 млн смартфонов. В годовом исчислении продажи рухнули практически в полтора раза — на 45,2 %. По сути, отгрузки сократились до уровня 2017 года, что отчасти объясняется негативным влиянием пандемии на мировой рынок смартфонов.

Финская компания HMD Global, по сообщениям интернет-источников, изучает возможность выхода на рынок смартфонов с гибким дисплеем. Не исключено, что подобный аппарат в обозримом будущем выйдет под брендом Nokia. Информация сайта - «dima-gid.ru» Утверждается, что HMD Global создала несколько прототипов телефонов с гибкой конструкцией для внутреннего тестирования. Однако сейчас разработка подобных устройств приостановлена. Причина заморозки проекта — сомнения в коммерческом успехе гибких смартфонов. Дело в том, что пока такие аппараты весьма дороги; к тому же у многих потенциальных покупателей возникают сомнения в надёжности механизма складывания и долговечности собственно гибкого экрана. В то же время отмечается, что полностью от идеи создания гибких аппаратов компания HMD Global не отказывается. Работы над подобными устройствами могут быть возобновлены в подходящее время. По оценкам Counterpoint Research, в первом квартале текущего года HMD Global удалось реализовать только около 1,7 млн смартфонов. В годовом исчислении продажи рухнули практически в полтора раза — на 45,2 %. По сути, отгрузки сократились до уровня 2017 года, что отчасти объясняется негативным влиянием пандемии на мировой рынок смартфонов.
Цитирование статьи, картинки - фото скриншот - Rambler News Service.
Иллюстрация к статье - Яндекс. Картинки.
Есть вопросы. Напишите нам.
Общие правила  поведения на сайте.

Смотрите также

А что там на главной? )))



Комментарии )))



Войти через: