Инсайдер поделился подробностями о складном Apple iPhone - «Новости сети»
sitename
После 10 месяцев работы на конвейере BMW у человекоподобных роботов Figure 02 начали отваливаться руки - «Новости сети»
После 10 месяцев работы на конвейере BMW у человекоподобных роботов Figure 02 начали отваливаться руки - «Новости сети»
«Открыть ворота»: грандиозная кампания «Империи бессмертных» скоро станет доступна владельцам Total War: Warhammer и Total War: Warhammer II - «Новости сети»
«Открыть ворота»: грандиозная кампания «Империи бессмертных» скоро станет доступна владельцам Total War: Warhammer и Total War: Warhammer II - «Новости сети»
Windows 1.0 вышла ровно 40 лет назад — ей хватало 256 Кбайт ОЗУ и одной дискеты - «Новости сети»
Windows 1.0 вышла ровно 40 лет назад — ей хватало 256 Кбайт ОЗУ и одной дискеты - «Новости сети»
Первая за 10 лет новая Carmageddon оказалась роглайтом — тизер-трейлер Carmageddon: Rogue Shift - «Новости сети»
Первая за 10 лет новая Carmageddon оказалась роглайтом — тизер-трейлер Carmageddon: Rogue Shift - «Новости сети»
Clair Obscur: Expedition 33 повторила рекорд Baldur’s Gate 3 и не оставила шанса конкурентам — итоги Golden Joystick Awards 2025 - «Новости сети»
Clair Obscur: Expedition 33 повторила рекорд Baldur’s Gate 3 и не оставила шанса конкурентам — итоги Golden Joystick Awards 2025 - «Новости сети»
Эксперты сомневаются, что Claude Code мог использоваться для автоматизированных атак - «Новости»
Эксперты сомневаются, что Claude Code мог использоваться для автоматизированных атак - «Новости»
Уязвимость в Fortinet FortiWeb использовалась для создания новых администраторов - «Новости»
Уязвимость в Fortinet FortiWeb использовалась для создания новых администраторов - «Новости»
Google позволит опытным пользователям устанавливать приложения из сторонних источников - «Новости»
Google позволит опытным пользователям устанавливать приложения из сторонних источников - «Новости»
Компания Keenetic принудительно обновляет роутеры пользователей из-за уязвимости - «Новости»
Компания Keenetic принудительно обновляет роутеры пользователей из-за уязвимости - «Новости»
Azure подвергся DDoS-атаке мощностью 15 Тбит/с, исходившей от 500 000 IP-адресов - «Новости»
Azure подвергся DDoS-атаке мощностью 15 Тбит/с, исходившей от 500 000 IP-адресов - «Новости»
Как заработать денег, не выходя из дома, мы вам поможем с этим разобраться » Новости » Новости мира Интернет » Инсайдер поделился подробностями о складном Apple iPhone - «Новости сети»


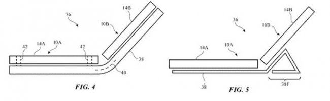
По неофициальной информации Apple уже некоторое время работает над прототипом складного iPhone, который должен составить конкуренцию подобным устройствам производства Samsung. Авторитетный инсайдер Джон Проссер (Jon Prosser) утверждает, что устройство получит два отдельных дисплея, соединённых шарниром, а не один гибкий дисплей, как у большинства современных смартфонов такого типа.



Информация сайта - «dima-gid.ru»




Проссер утверждает, что складной iPhone будет иметь такие же скруглённые боковые грани, как и iPhone 11. Кроме того у устройства будет отсутствовать уже привычная для iPhone «чёлка», однако на внешнем дисплее будет присутствовать крошечный вырез, в котором будет умещена система распознавания лиц TrueDepth, на которую полагается Face ID.



Информация сайта - «dima-gid.ru»



Несмотря на то, что устройство получит два отдельных дисплея, Проссер утверждает, что дисплеи смартфона создают впечатление единой панели. Таким образом, складной iPhone больше напоминает по конструкции такие устройства, как Microsoft Surface Neo и Surface Duo, чем Samsung Galaxy Fold, с последующими версиями которого вероятно будет конкурировать.



Информация сайта - «dima-gid.ru»




Пока неизвестно, когда Apple выпустит складной iPhone на рынок. Слухи о его разработке ходят ещё с 2016 года. В марте текущего года компания запатентовала устройство с двумя дисплеями, соединёнными шарниром, которое очень похоже на то, что описал Проссер. И хотя в последнее время подробностей об устройстве становится всё больше, вряд ли Apple представит его в ближайшем будущем.
Цитирование статьи, картинки - фото скриншот - Rambler News Service.
Иллюстрация к статье - Яндекс. Картинки.
Есть вопросы. Напишите нам.
Общие правила  поведения на сайте.

По неофициальной информации Apple уже некоторое время работает над прототипом складного iPhone, который должен составить конкуренцию подобным устройствам производства Samsung. Авторитетный инсайдер Джон Проссер (Jon Prosser) утверждает, что устройство получит два отдельных дисплея, соединённых шарниром, а не один гибкий дисплей, как у большинства современных смартфонов такого типа. Информация сайта - «dima-gid.ru» Проссер утверждает, что складной iPhone будет иметь такие же скруглённые боковые грани, как и iPhone 11. Кроме того у устройства будет отсутствовать уже привычная для iPhone «чёлка», однако на внешнем дисплее будет присутствовать крошечный вырез, в котором будет умещена система распознавания лиц TrueDepth, на которую полагается Face ID. Информация сайта - «dima-gid.ru» Несмотря на то, что устройство получит два отдельных дисплея, Проссер утверждает, что дисплеи смартфона создают впечатление единой панели. Таким образом, складной iPhone больше напоминает по конструкции такие устройства, как Microsoft Surface Neo и Surface Duo, чем Samsung Galaxy Fold, с последующими версиями которого вероятно будет конкурировать. Информация сайта - «dima-gid.ru» Пока неизвестно, когда Apple выпустит складной iPhone на рынок. Слухи о его разработке ходят ещё с 2016 года. В марте текущего года компания запатентовала устройство с двумя дисплеями, соединёнными шарниром, которое очень похоже на то, что описал Проссер. И хотя в последнее время подробностей об устройстве становится всё больше, вряд ли Apple представит его в ближайшем будущем.

Смотрите также


А что там на главной? )))



Комментарии )))



Войти через: